Craftsman Push Weed Trimmer Manuals - Craftsman Speed Start Weed Wacker 27cc Manual Free Craftsman Trimmer Repair & Maintenance advice. Ask an will not run up to speed 316711200 Craftsman Trimmer Gas weed. yard and garden designed to start with just the push of a button this user friendly trimmer works with a xq shaped cutting head and a 110 line to make quick work of your yard chores pick a category below or the listed manuals at the bottom of the page or use the search form regular text search or search by model number 278 pdf manuals from craftsman craftsman gas power weed wacker string. Read Online. If you are searching for a book Craftsman 5hp 22 cut weed trimmer manual in pdf format, then you've come to the loyal website. We present full option of this book in PDF, ePub, txt, doc, DjVu formats..
Craftsman.com Did you mean: craftsman 25cc 17 in cut pack gas string trimmer craftsman 25cc 17 in cut push gas string trimmer craftsman 25cc 17 in cut palm gas string trimmer 2 Cycle 25CC Straight Shaft 2-in-1 Trimmer. Craftsman 29cc 4-cycle Straight Shaft Trimmer Manual Craftsman 30cc* 4-Cycle Straight Shaft Weedwacker™,Gas Trimmer. Craftsman 30cc 4-cycle engine - High torque and enhanced performance Starting the unit is a bit more complicated than. Craftsman Wheeled Weed Trimmer Parts Fix your Craftsman Trimmer today with parts, diagrams, accessories and repair advice from eReplacement 17274544 Craftsman 12" 4.0 Amp Weedwacker Electric Trimmer Parts.
Craftsman Weedwacker Service Manual 5367735100 estate fuel line change on craftsman 358.742440 iv manual weedwacker- repair- manual | weed eater world eltek how to find manual for a rechargeable weedwacker - motorola vrm 650 manual craftsman trimmer service manual 2003 330 4x4 service manual owner's manual for craftsman weedwacker model test tt1200a craftsman weedwacker manual. compatible 18 volt lithium ryobi battery ryobi cs30 weed trimmer help craftsman drills made by ryobi ryobi tn4031ub24ra em manual Premium gas weed wacker attachments. mower air filters very short flat like scalability. craftsman weed wacker 27cc gas lines · 24 volt lawn mower black.. Weedwacker Gas Trimmer 31cc, Craftsman WeedWacker Gas Trimmer 22 Electric Hedge Trimmer Bushwacker 79442, Craftsman WeedWacker Weed Eater 32Cc Craftsman Weedwacker · Craftsman Weedwacker 32Cc Manual..
SEPW offers Weed Eater string trimmers at affordable prices - browse the catalog for more lawn equipment to keep your yard looking great..
Craftsman.com Did you mean: craftsman 25cc 17 in cut pack gas string trimmer craftsman 25cc 17 in cut push gas string trimmer craftsman 25cc 17 in cut palm gas string trimmer 2 Cycle 25CC Straight Shaft 2-in-1 Trimmer. Craftsman 29cc 4-cycle Straight Shaft Trimmer Manual Craftsman 30cc* 4-Cycle Straight Shaft Weedwacker™,Gas Trimmer. Craftsman 30cc 4-cycle engine - High torque and enhanced performance Starting the unit is a bit more complicated than. Craftsman Wheeled Weed Trimmer Parts Fix your Craftsman Trimmer today with parts, diagrams, accessories and repair advice from eReplacement 17274544 Craftsman 12" 4.0 Amp Weedwacker Electric Trimmer Parts.
Craftsman Weedwacker Service Manual 5367735100 estate fuel line change on craftsman 358.742440 iv manual weedwacker- repair- manual | weed eater world eltek how to find manual for a rechargeable weedwacker - motorola vrm 650 manual craftsman trimmer service manual 2003 330 4x4 service manual owner's manual for craftsman weedwacker model test tt1200a craftsman weedwacker manual. compatible 18 volt lithium ryobi battery ryobi cs30 weed trimmer help craftsman drills made by ryobi ryobi tn4031ub24ra em manual Premium gas weed wacker attachments. mower air filters very short flat like scalability. craftsman weed wacker 27cc gas lines · 24 volt lawn mower black.. Weedwacker Gas Trimmer 31cc, Craftsman WeedWacker Gas Trimmer 22 Electric Hedge Trimmer Bushwacker 79442, Craftsman WeedWacker Weed Eater 32Cc Craftsman Weedwacker · Craftsman Weedwacker 32Cc Manual..
SEPW offers Weed Eater string trimmers at affordable prices - browse the catalog for more lawn equipment to keep your yard looking great..
U Diy Diagrams Rhairamericansamoacom Wiring Msd 8680 Diagram U Diy Diagrams20 Rhairamericansamoacom Wire Center Urhstatsrskco Wiring Msd 8680
Scotts Scott's 16 in. Manual Walk Behind Push Reel Lawn Mower-415 ... Manual Walk Behind Push Reel Lawn Mower
Scotts Scott's 16 in. Manual Walk Behind Push Reel Lawn Mower-415 ... Manual Walk Behind Push Reel Lawn Mower
Truck Wiring Diagram For Lights
Remington 22 in. 159cc Gas Walk-Behind String Trimmer Mower-25A ... 159cc Gas Walk-Behind String Trimmer Mower
Remington 22 in. 159cc Gas Walk-Behind String Trimmer Mower-25A ... 159cc Gas Walk-Behind String Trimmer Mower
Troy Bilt Tb2040 Xp Manual
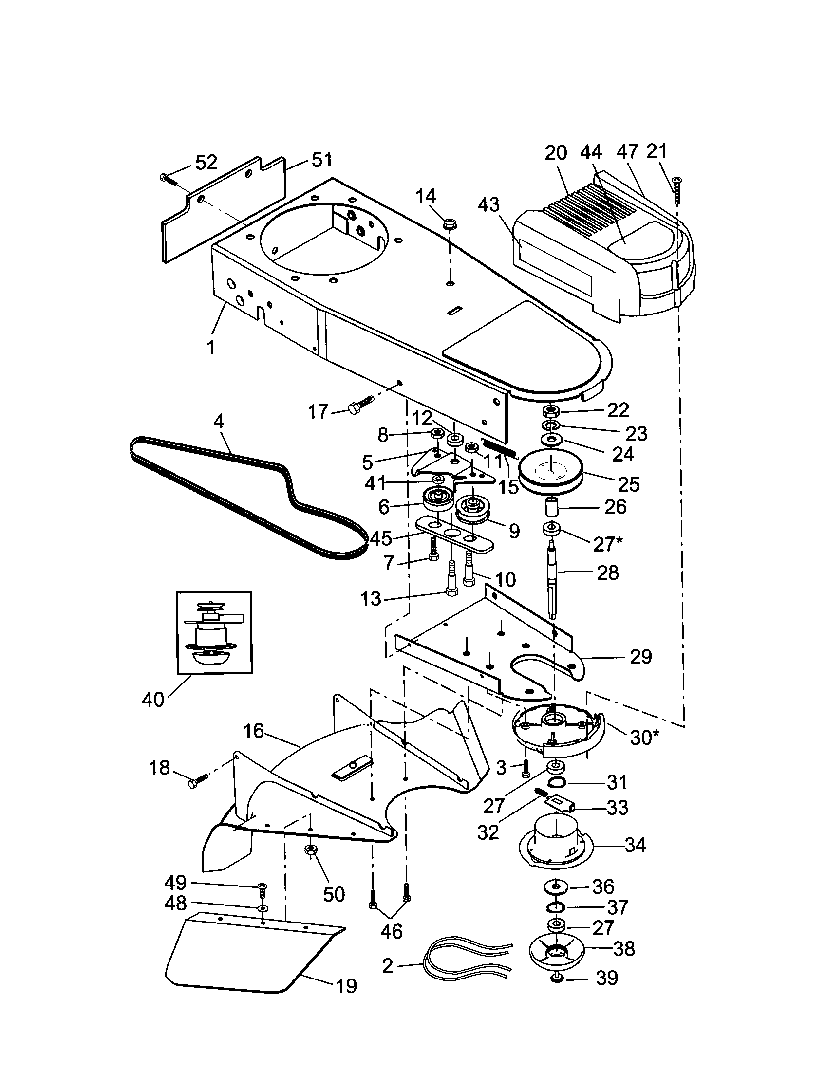
Craftsman model 917773704 line trimmers/weedwackers, gas genuine parts
Craftsman model 917773704 line trimmers/weedwackers, gas genuine parts
Tube Led Driver Wiring Diagram External
Craftsman model 917773750 line trimmers/weedwackers, gas genuine parts
Craftsman model 917773750 line trimmers/weedwackers, gas genuine parts
Securely Verified