Jeep Parts User Manual Transfer Case Manual - Find great deals on eBay for Jeep TJ Transfer Case in Other. Shop with confidence.. Find great deals on eBay for Jeep Wrangler Transfer Case in Other. Shop with confidence.. 26.01.2011 · right now my transfer case is a on the fly-bush putton type and it's busted. can I replace it with a transfer case that is manual, as in no push button???.
View and Download Jeep Liberty user manual online. Chrysler 2011. Liberty Automobile pdf manual download. Also for: 2011 liberty.. View and Download Jeep WRANGLER 2017 user manual online. WRANGLER 2017 Automobile pdf manual download.. Manual transmission Mitsubishi truck rebuild kits and parts help you with manual transmission problems. Click here today save money!.
Want to make your 2003 Jeep Wrangler one of a kind, keep it running at its peak, or turn it into a high-powered beast? Our vast selection of premium accessories and parts ticks all the boxes.. Don’t waste your time hunting all over for parts for your Jeep Grand Cherokee. Whether it’s for scheduled maintenance or a repair job, we have what you need.. The All-New 2018 Jeep Wrangler is a fully capable off-road SUV. Explore the available 4x4 systems, V6 engine, Rubicon capability features, tow hooks & more..
ORD offers the Doubler 4:1 Dual Transfer case, combining NP205 and NP203 transfer cases for a 4:1 ratio low range for Blazer, Suburban, K5, GM Jimmy, Dodge.
View and Download Jeep Liberty user manual online. Chrysler 2011. Liberty Automobile pdf manual download. Also for: 2011 liberty.. View and Download Jeep WRANGLER 2017 user manual online. WRANGLER 2017 Automobile pdf manual download.. Manual transmission Mitsubishi truck rebuild kits and parts help you with manual transmission problems. Click here today save money!.
Want to make your 2003 Jeep Wrangler one of a kind, keep it running at its peak, or turn it into a high-powered beast? Our vast selection of premium accessories and parts ticks all the boxes.. Don’t waste your time hunting all over for parts for your Jeep Grand Cherokee. Whether it’s for scheduled maintenance or a repair job, we have what you need.. The All-New 2018 Jeep Wrangler is a fully capable off-road SUV. Explore the available 4x4 systems, V6 engine, Rubicon capability features, tow hooks & more..
ORD offers the Doubler 4:1 Dual Transfer case, combining NP205 and NP203 transfer cases for a 4:1 ratio low range for Blazer, Suburban, K5, GM Jimmy, Dodge.
Manual Vt Commodore For Sale
2010 Jeep Wrangler Transfer Case Assembly - Mopar Parts Giant 2010 Jeep Wrangler Transfer Case Assembly - Thumbnail 2
2010 Jeep Wrangler Transfer Case Assembly - Mopar Parts Giant 2010 Jeep Wrangler Transfer Case Assembly - Thumbnail 2
Manuals Aprilia Sr 50 Replica
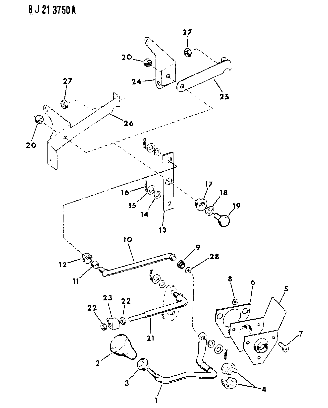
Chrysler, 1987 J -JEEP, 21M TRANSMISSION, MANUAL, 41 41 CONTROLS ... type, Series, Engine, Body, Transmission, Trim, QTY, Replacements, Alternate parts, Conventions, Service repair tips
Chrysler, 1987 J -JEEP, 21M TRANSMISSION, MANUAL, 41 41 CONTROLS ... type, Series, Engine, Body, Transmission, Trim, QTY, Replacements, Alternate parts, Conventions, Service repair tips
Manuals Cars For Sale Under 4000
1995 Jeep Grand Cherokee Service Repair Manual Download | 2019 Ebook ... 1993-94-95-96-97 Ford Ranger Transmission / Transfercase / 4x4
1995 Jeep Grand Cherokee Service Repair Manual Download | 2019 Ebook ... 1993-94-95-96-97 Ford Ranger Transmission / Transfercase / 4x4
Manuale Opel Astra H Sw
4 Wheel Drive: When, Where How and Why to Engage your Jeep Wrangler ... Your Jeep Wrangler JK is set up with a dual rate transfer case. This setup uses a t-case behind your transmission and transfers drive to the rear ...
4 Wheel Drive: When, Where How and Why to Engage your Jeep Wrangler ... Your Jeep Wrangler JK is set up with a dual rate transfer case. This setup uses a t-case behind your transmission and transfers drive to the rear ...
Securely Verified