Johnson Outboard Manuals 1974 85 Hp - ZSOI4.NET Ebook PDF Free and Manual Reference Download Johnson Outboard Manual 1974 85 Hp Ebook PDF 2019 Looking forJohnson Outboard Manual 1974 85 Hp Ebook PDF 2019?. Document 1974 Johnson Outboard Motor Service Manual 85 Hp Model 85esl74 is available in various formats such as PDF, DOC and ePUB which you can directly download and save in in to you PC, Tablet or Mobile Phones.. 1974 Johnson Evinrude 85 HP Outboard PDF Factory Service & Work Shop Manual Download.
DOWNLOAD a factory service manual straight to your computer in just seconds. Start fixing your outboard motor now!. 1974 Johnson Outboard 50 HP 50ES74 50ESL74 Service Manual Genuine OMC # JM 7406 " PicClick Exclusive Popularity - 5 views, 0.2 views per day, 23 days on eBay.. download 1992 25 hp merc outboard to have governor linkage. 1973 to 1990 Johnson Evinrude Outboard 2Hp to 40Hp 2 & 4-Stroke Cycle Workshop Service Repair Manual pdf Download 1973 1974.
haynes repair 85 hp johnson outboard manuals - parts, repair, owners stihl fc 44 edger manual johnson/evinrude outboard motors service and repair manuals nissan sentra find 1976 85hp johnson evinrude outboard -. If you are searching for a ebook Johnson 85 hp outboard manual in pdf format, in that case you come on to the right site. We presented the full variant of this ebook in DjVu, txt, PDF, doc, ePub forms.. 1974 Mercury Outboard Repair Manuals Yamaha DOWNLOAD 25HP Outboard Owners Manual Yamaha Suzuki Evinrude 1974 johnson seahorse 25 hp repair manuel for a 25 hp.
P You may looking 1977 Johnson 85 Hp Outboard Motor Manual document throught internet in google, bing, yahoo and other mayor seach engine. This special edition completed with other document such as :.
DOWNLOAD a factory service manual straight to your computer in just seconds. Start fixing your outboard motor now!. 1974 Johnson Outboard 50 HP 50ES74 50ESL74 Service Manual Genuine OMC # JM 7406 " PicClick Exclusive Popularity - 5 views, 0.2 views per day, 23 days on eBay.. download 1992 25 hp merc outboard to have governor linkage. 1973 to 1990 Johnson Evinrude Outboard 2Hp to 40Hp 2 & 4-Stroke Cycle Workshop Service Repair Manual pdf Download 1973 1974.
haynes repair 85 hp johnson outboard manuals - parts, repair, owners stihl fc 44 edger manual johnson/evinrude outboard motors service and repair manuals nissan sentra find 1976 85hp johnson evinrude outboard -. If you are searching for a ebook Johnson 85 hp outboard manual in pdf format, in that case you come on to the right site. We presented the full variant of this ebook in DjVu, txt, PDF, doc, ePub forms.. 1974 Mercury Outboard Repair Manuals Yamaha DOWNLOAD 25HP Outboard Owners Manual Yamaha Suzuki Evinrude 1974 johnson seahorse 25 hp repair manuel for a 25 hp.
P You may looking 1977 Johnson 85 Hp Outboard Motor Manual document throught internet in google, bing, yahoo and other mayor seach engine. This special edition completed with other document such as :.
Ford Crown Victoria Grand Marquis 1989 93 Chiltons Total Car Care Repair Manual
Calaméo - 1973-1989 Johnson Evinrude Outboard 48hp-235hp Engine ... Calaméo - 1973-1989 Johnson Evinrude Outboard 48hp-235hp Engine Service Repair Workshop Manual DOWNLOAD
Calaméo - 1973-1989 Johnson Evinrude Outboard 48hp-235hp Engine ... Calaméo - 1973-1989 Johnson Evinrude Outboard 48hp-235hp Engine Service Repair Workshop Manual DOWNLOAD
Ford E 350 Super Duty Turn Signal Wiring Diagram
Amazon.com: Outboard Fuel Pump with Gasket For Johnson/Evinrude 20 ... Amazon.com: Outboard Fuel Pump with Gasket For Johnson/Evinrude 20-140HP 48/90/115/HP 438556 18-7352: Automotive
Amazon.com: Outboard Fuel Pump with Gasket For Johnson/Evinrude 20 ... Amazon.com: Outboard Fuel Pump with Gasket For Johnson/Evinrude 20-140HP 48/90/115/HP 438556 18-7352: Automotive
Ford E 250 Fuse Box
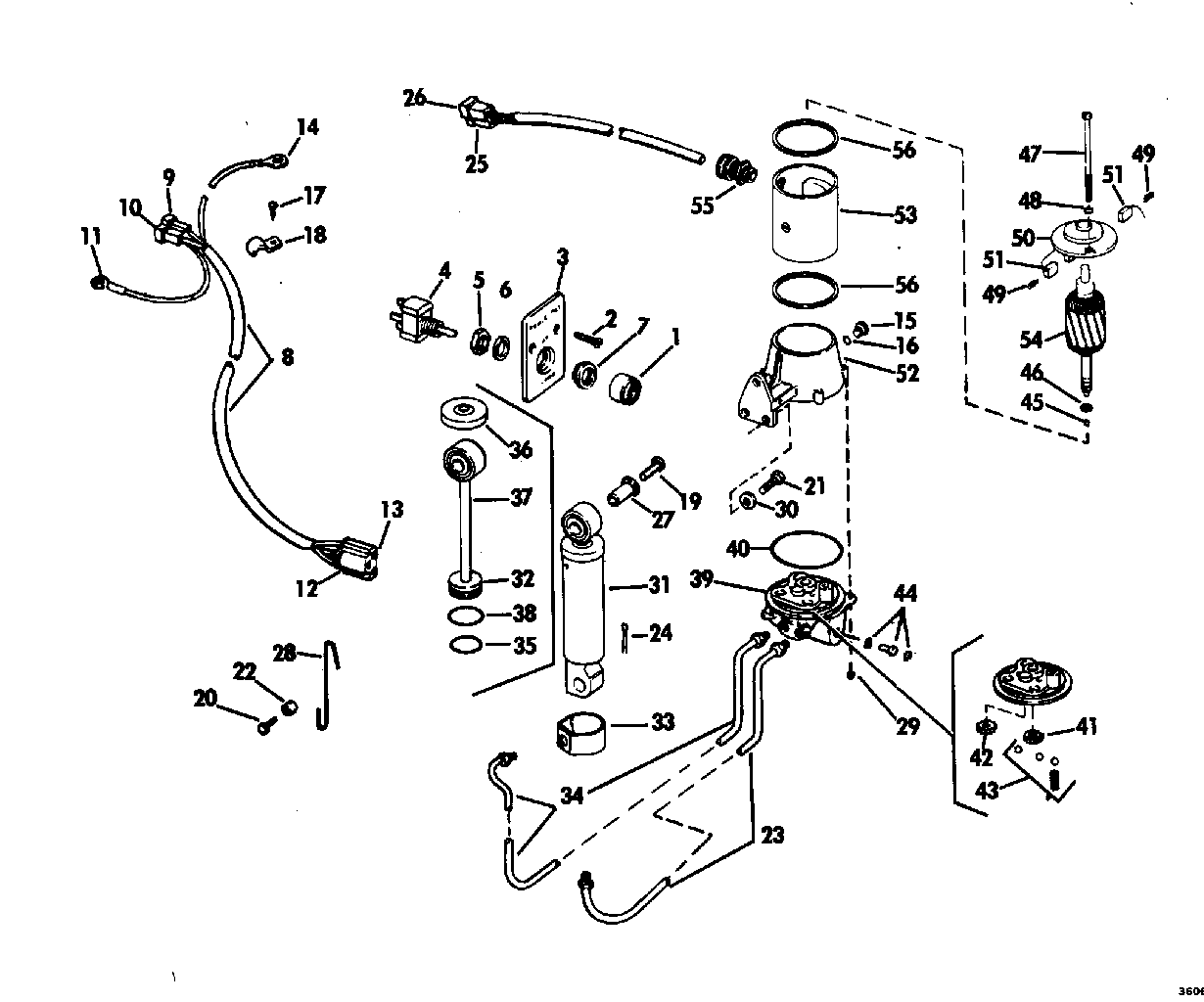
Johnson Outboard Manuals 1974 85 Hp | 2019 Ebook Library Power Tilt Kit-70 Long, 85, 115 & 135 Hp Electrical 1974 Accessories .
Johnson Outboard Manuals 1974 85 Hp | 2019 Ebook Library Power Tilt Kit-70 Long, 85, 115 & 135 Hp Electrical 1974 Accessories .
Ford E350 Fuel Pump Wiring Diagram
Johnson Outboard Manuals 1974 85 Hp | 2019 Ebook Library 1973 1990 evinrude johnson 48 235 hp service manual outboard pdf service manual by ServiceManuals -
Johnson Outboard Manuals 1974 85 Hp | 2019 Ebook Library 1973 1990 evinrude johnson 48 235 hp service manual outboard pdf service manual by ServiceManuals -
Securely Verified