Lvdt Wiring Polarity Designation Diagram - • Polarity (LVDT) - The control/LVDT physical location, and schematic diagram wiring, determine LVDT feedback voltage polarity. “LVDT Invert” is set to insure command and feedback cancel.. 1/16 4/3-way servo solenoid directional control valves with electrical position feedback (Lvdt DC/DC) (ruggedized design) Type 4WRL1025 Sizes (NG) 10, 16, 25. terminal markings and internal wiring diagrams single phase and POLYPHASE MOTORS MEETING NEMA STANDARDS See Fig. 2-11 in which vector 1 is 120 degrees in advance of vector 2 and the phase sequence is 1, 2, 3..
Wiring and Cable Specifications Flying Leads, Cabled and “MS” Connection in hi-flex cables do not match the above wiring diagram. Contact Compumotor for wiring diagram. 1 Brake will operate regardless of polarity of connection Designation Pin Number MS14-18 Wire. The standard polarity designation for transformers is as follows: Transformers manufactured above 200 kVA will have subtractive polarities. A transformer wiring diagram can be found printed on the transformer nameplate or inside the cover to the wiring compartment. The. For instance: polarity of electrolytic capacitors, or wiring of three-terminal voltage regulators, or the direction of diodes (but you have to understand the circuit for that one: sometimes diodes are reverse biased on purpose)..
Works with 5 and 6 wire LVDTs Internally Regulated DC Voltage or 4-20mA Output High Frequency Response ELECTRICAL SPECIFICATIONS BLOCK DIAGRAM INPUT POWER Voltage ±14.5 to ±28VDC, Input polarity protected. NOTE: DUAL DC OUTPUT POWER SUPPLY REQUIRED. Current ±150mA MAX. plus LVDT current. Electrical Dash Lines. Ask Question. Could it mark the necessary wiring to remove one or more LVDT units from service? Could you post photos? Why do you want to know? An LVDT has a primary AC powered coil (the one at the top of your diagram), and two sensing coils (Vcoil1 -. 36 - Polarity or Polarizing Voltage Devices 37 - Undercurrent or Underpower Relay 38 - Bearing Protective Device Basics 16 Wiring (or Connection) Diagram : Basics 17 Tray & Conduit Layout Drawing : Basics 18 Embedded Conduit Drawing : Basics 19 Instrument Loop Diagram : Basics -.
Physical Meaning of the Polarity or Dotted Notation The physical criteria of this notation is to preserve a proper magnetic flow circuit direction inside the material. Keeping all current entering a transformer or coupled inductances, in phase, th. Honeywell • Sensing and Control 3 Long Stroke Displacement Transducer MOUNTING DIMENSIONS TYPICAL SYSTEM DIAGRAM WIRING CODES Range code Available stroke range L. Sensotec wiring diagram datasheet, cross reference, circuit and application notes in pdf format..
The LVDT Test Device provides accurate calibration and checking of LVDTs A phase lamp is used to check the primary and secondary wiring of the LVDT. When the LVDT is wired correctly the primary and secondary signals are in Check to see that the polarity OK lamp is lit on the front panel.. The linear variable differential transformer (LVDT) is an accurate and reliable method for measuring linear distance. LVDTs find uses in modern machine-tool, robotics, Note also that this approach requires the use of a 5-wire LVDT. A single external resistor sets the AD598 excitation voltage from approximately 1 VRMS to 24 VRMS..
Wiring and Cable Specifications Flying Leads, Cabled and “MS” Connection in hi-flex cables do not match the above wiring diagram. Contact Compumotor for wiring diagram. 1 Brake will operate regardless of polarity of connection Designation Pin Number MS14-18 Wire. The standard polarity designation for transformers is as follows: Transformers manufactured above 200 kVA will have subtractive polarities. A transformer wiring diagram can be found printed on the transformer nameplate or inside the cover to the wiring compartment. The. For instance: polarity of electrolytic capacitors, or wiring of three-terminal voltage regulators, or the direction of diodes (but you have to understand the circuit for that one: sometimes diodes are reverse biased on purpose)..
Works with 5 and 6 wire LVDTs Internally Regulated DC Voltage or 4-20mA Output High Frequency Response ELECTRICAL SPECIFICATIONS BLOCK DIAGRAM INPUT POWER Voltage ±14.5 to ±28VDC, Input polarity protected. NOTE: DUAL DC OUTPUT POWER SUPPLY REQUIRED. Current ±150mA MAX. plus LVDT current. Electrical Dash Lines. Ask Question. Could it mark the necessary wiring to remove one or more LVDT units from service? Could you post photos? Why do you want to know? An LVDT has a primary AC powered coil (the one at the top of your diagram), and two sensing coils (Vcoil1 -. 36 - Polarity or Polarizing Voltage Devices 37 - Undercurrent or Underpower Relay 38 - Bearing Protective Device Basics 16 Wiring (or Connection) Diagram : Basics 17 Tray & Conduit Layout Drawing : Basics 18 Embedded Conduit Drawing : Basics 19 Instrument Loop Diagram : Basics -.
Physical Meaning of the Polarity or Dotted Notation The physical criteria of this notation is to preserve a proper magnetic flow circuit direction inside the material. Keeping all current entering a transformer or coupled inductances, in phase, th. Honeywell • Sensing and Control 3 Long Stroke Displacement Transducer MOUNTING DIMENSIONS TYPICAL SYSTEM DIAGRAM WIRING CODES Range code Available stroke range L. Sensotec wiring diagram datasheet, cross reference, circuit and application notes in pdf format..
The LVDT Test Device provides accurate calibration and checking of LVDTs A phase lamp is used to check the primary and secondary wiring of the LVDT. When the LVDT is wired correctly the primary and secondary signals are in Check to see that the polarity OK lamp is lit on the front panel.. The linear variable differential transformer (LVDT) is an accurate and reliable method for measuring linear distance. LVDTs find uses in modern machine-tool, robotics, Note also that this approach requires the use of a 5-wire LVDT. A single external resistor sets the AD598 excitation voltage from approximately 1 VRMS to 24 VRMS..
02 Suzuki Gsxr 1000 Wiring Diagram
LPC 2100 Manual | manualzz.com
LPC 2100 Manual | manualzz.com
03 Acura Rsx Type S Service Manual Pdf
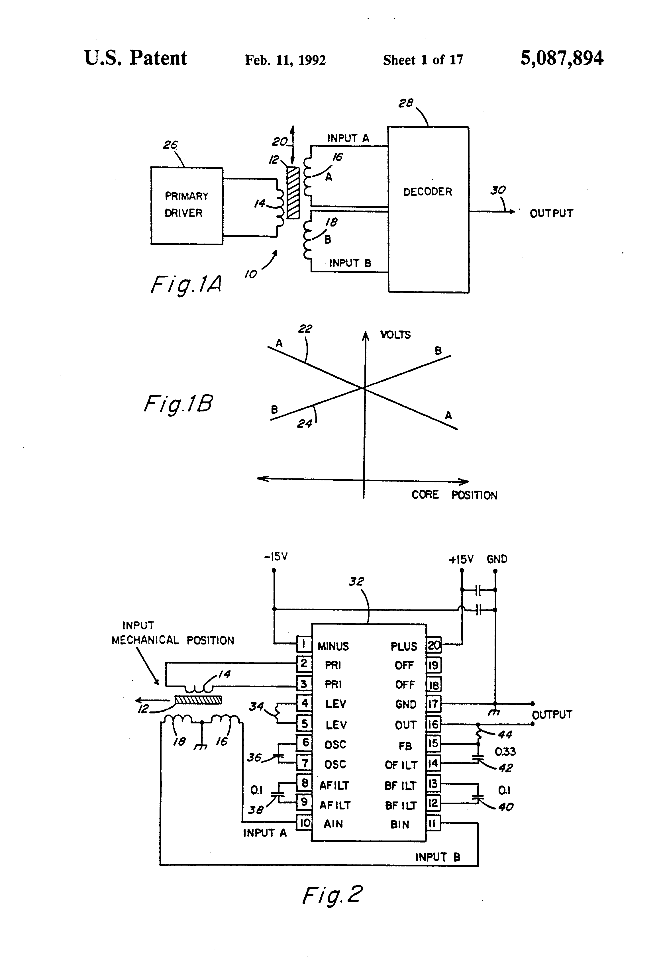
Patent US5087894 - Monolithic interface circuit for linear variable ... Patent Drawing
Patent US5087894 - Monolithic interface circuit for linear variable ... Patent Drawing
02 Hyundai Accent Wiring Diagram
WBK Options User's Manual
WBK Options User's Manual
Securely Verified