Sears Craftsman Snowblower Manuals Online - Popular Lawn & Garden Manuals. Craftsman 9HP Dual-Stage Snowblower C950-52919-0 Manual; Craftsman HP Garage Door Opener 139.53975SRT1 139.53962SRT1 Manual. I need to connect the 4 wires that go to the minibridge Looking for a manual for Sears Craftsman Snow Blower looking for a op manual or parts manual for a craftsman. Thank you for your question. I am sorry you are having a problem with your new snow blower. The snow blower has a 2 year warranty. If you would like to take advantage of the warranty, please call 1-800-469-4663..
Buy lawn mower parts, generator, snow blower and small engine parts online. 365 day returns. Worldwide shipping. 2 Millon+ parts available.. Garden product manuals and free pdf instructions. Find the user manual you need for your lawn and garden product and more at ManualsOnline. Replacement Trimmer Parts. Looking for a replacement part for your string trimmer or hedge trimmer? RCPW carries parts from all of the top trimmer brands such as Homelite, Poulan, Echo, aftermarket STIHL, Ryobi, Toro, MTD, Yard Machines and other manufacturers..
2018 Craftsman and Craftsman Pro Lawn and Garden Tractor Review. Craftsman has made quite a few changes in the Craftsman lawn tractor and Craftsman Pro garden tractors for 2018.. Genuine OEM Parts We carry genuine OEM parts for many different manufacturers of lawn mowers, snow blowers, snow plow, salt spreaders, small engines,. 26.04.2004 · I have a GT5000, and the Craftsman wheel weights are $55 for 55 lbs each. That seems a bit pricey to me, as it would be $110 for starters, plus I can't add more weights later..
Fast Shipping! Most of our stocked parts ship within 24 hours (M-Th). Expedited shipping available, just call! Most prices for parts and manuals are below our competitors..
Buy lawn mower parts, generator, snow blower and small engine parts online. 365 day returns. Worldwide shipping. 2 Millon+ parts available.. Garden product manuals and free pdf instructions. Find the user manual you need for your lawn and garden product and more at ManualsOnline. Replacement Trimmer Parts. Looking for a replacement part for your string trimmer or hedge trimmer? RCPW carries parts from all of the top trimmer brands such as Homelite, Poulan, Echo, aftermarket STIHL, Ryobi, Toro, MTD, Yard Machines and other manufacturers..
2018 Craftsman and Craftsman Pro Lawn and Garden Tractor Review. Craftsman has made quite a few changes in the Craftsman lawn tractor and Craftsman Pro garden tractors for 2018.. Genuine OEM Parts We carry genuine OEM parts for many different manufacturers of lawn mowers, snow blowers, snow plow, salt spreaders, small engines,. 26.04.2004 · I have a GT5000, and the Craftsman wheel weights are $55 for 55 lbs each. That seems a bit pricey to me, as it would be $110 for starters, plus I can't add more weights later..
Fast Shipping! Most of our stocked parts ship within 24 hours (M-Th). Expedited shipping available, just call! Most prices for parts and manuals are below our competitors..
1972 Bmw Ignition Switch Wiring
Craftsman Lawn Mower 917.385270 User Guide | ManualsOnline.com 9ed81283-61fd-4e16-968e-9222f10ad418-bg1.png
Craftsman Lawn Mower 917.385270 User Guide | ManualsOnline.com 9ed81283-61fd-4e16-968e-9222f10ad418-bg1.png
1971 Ford Fuse Box Diagram
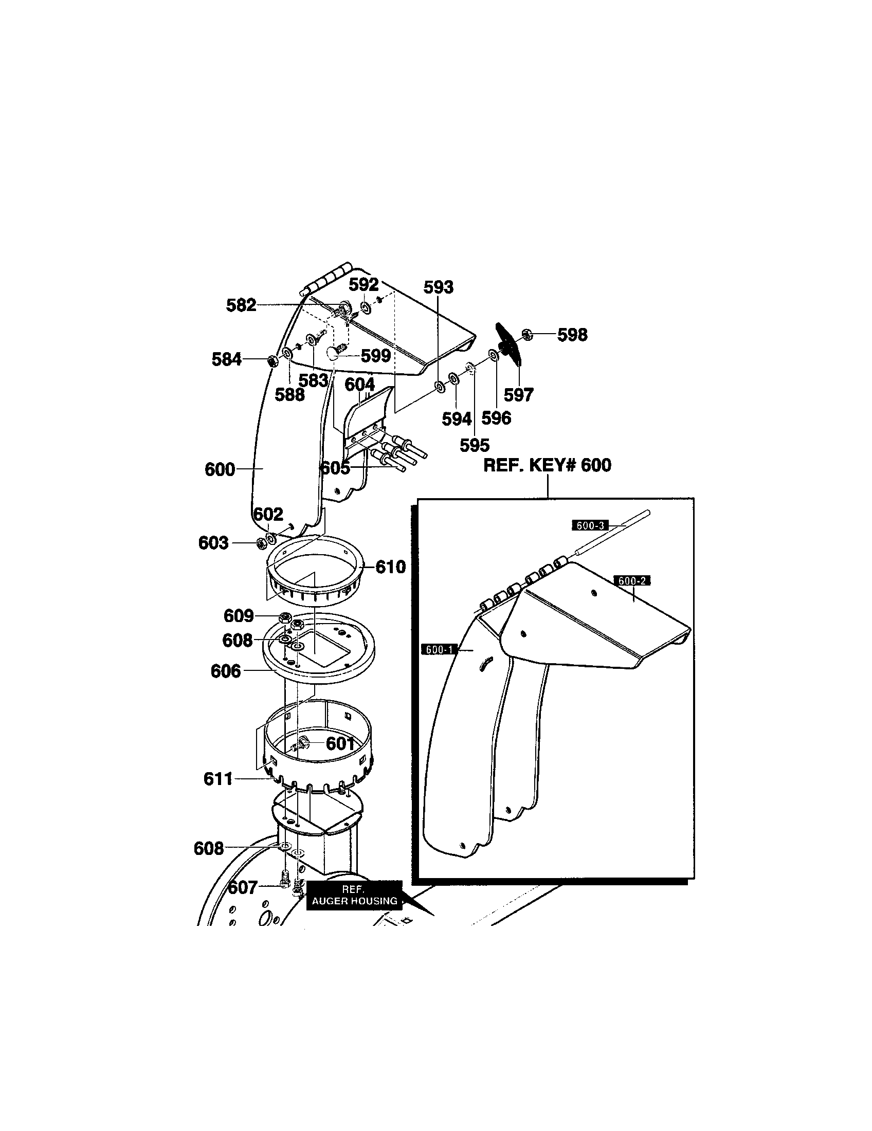
Craftsman snowblower Parts Manual C950-52710-0, C950-52712-0
Craftsman snowblower Parts Manual C950-52710-0, C950-52712-0
1971 Vw Super Beetle Ignition Switch Wiring Diagram
Craftsman 88198 22" 179cc Compact Dual-Stage Snowblower
Craftsman 88198 22" 179cc Compact Dual-Stage Snowblower
1972 Nova Wiring Diagram In Color Schematic
Craftsman model 536886260 snowthrower, gas genuine parts
Craftsman model 536886260 snowthrower, gas genuine parts
Securely Verified